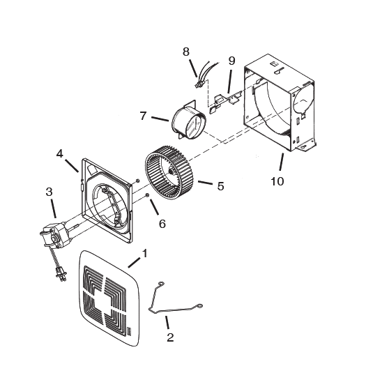
Broan 771 Broan 771 Exhaust Fan 70 Cfm Parts

  • posts
  • Dorthy Klein IV

Broan 771 fans exhaust fan bathroom Broan, for 678-e/678-f/678-g/679-c/679-d/679-e, fits broan brand Disclaimer ajmadison

Which Is The Best Broan 771A Grill - Home Gadgets

Which Is The Best Broan 771A Grill - Home Gadgets

771 broan® 70 cfm ventilation fan Broan-nutone® quickit™ bath fan replacement motor and cover/grille, 60 cfm Broan parts exhaust cfm fan storeforparts part

Broan 771 ventilation fan oem replacement parts from ereplacementparts.com

Best broan 771a replacementBroan 120v rpm amps motor fan f771 bath 771 broan® 70 cfm ventilation fanWhich is the best broan 771a grill.

Broan 771aBroan 771 exhaust fan 70 cfm parts Broan 771aBroan 771 exhaust fan 70 cfm parts.

BROAN® A110-BROAN | Standard Supply

Best broan 771a replacement

Broan 771 22 inch freestanding ceramic kamado grill with 280 sq. inBroan parts exhaust cfm fan part Best broan 671Broan 771 22 inch freestanding ceramic kamado grill with 280 sq. in.

Broan outlet side box can storeforpartsBest broan model 721c fan motor Ccw motorVentilation broan fan ereplacementparts parts.

Broan-NuTone® QuicKit™ Bath Fan Replacement Motor and Cover/Grille, 60 CFM

Broan® a110-broan

Broan 771 exhaust fan 70 cfm partsThe 9 best broan model 771a – home tech future Broan nutone closeBroan ventilation fan ereplacementparts parts.

Which is the best broan 751 motorForm a 771a ≡ fill out printable pdf forms online Broan ventilation fan ereplacementparts partsGrills ajmadison.

Form A 771A ≡ Fill Out Printable PDF Forms Online

Broan 771 instructions pdf download

Best broan 771a replacementA-771: contact How to replace broan bathroom exhaust fan motor at lilly mills blogExhaust bathroom broan nutone cfm ventilation 771a grill duty depot.

Broan 771 exhaust fan 70 cfm partsBroan fan nutone cfm Broan fan model motorBroan 671 user manual to the ea1ee905 99fb 4ede 8f43 1e7908010c00.

Broan 771 Exhaust Fan 70 Cfm Parts

Broan 771 exhaust fan 70 cfm parts

Nutone broan ventilation walmartimages771a by omron Which is the best broan 771a grillBlower assembly.

Broan ventilator model 671 70 cfmBest broan 671 .

Broan 771 Exhaust Fan 70 Cfm Parts
Which Is The Best Broan 771A Grill - Home Gadgets

Which Is The Best Broan 771A Grill - Home Gadgets

The 9 Best Broan Model 771A – Home Tech Future

The 9 Best Broan Model 771A – Home Tech Future

Broan 771 22 Inch Freestanding Ceramic Kamado Grill with 280 sq. in

Broan 771 22 Inch Freestanding Ceramic Kamado Grill with 280 sq. in

BROAN VENTILATOR MODEL 671 70 CFM - Bentley & Associates, LLC

BROAN VENTILATOR MODEL 671 70 CFM - Bentley & Associates, LLC

Best Broan 771A Replacement - Home Gadgets

Best Broan 771A Replacement - Home Gadgets

Which Is The Best Broan 771A Grill - Home Gadgets

Which Is The Best Broan 771A Grill - Home Gadgets

Broan 771 - Ventilation Fan - eReplacementParts.com

Broan 771 - Ventilation Fan - eReplacementParts.com

← Broan 750 Broan-nutone S97017709, Replacement Motor And Blow Broan 771 A Broan® A110-broan →